關於建通
集團沿革
集團願景與宗旨
經營團隊
公司組織
產品與服務
車用產品系列
特殊新型銅材加工
新能源與綠能
電源線連接器
線束連接器
電工端子
最新消息
新聞
活動訊息
廠區巡禮
投資人關係
財訊資料
公司治理
股東專欄
FAQ問答集
企業永續
董事長的話
利害關係人互動與經營
供應鏈管理
推動永續發展情形
員工專區
人才招募
培訓發展
福利措施
職缺項目
GEM TERMINAL IND.CO.,LTD.版權所有
©建通精密工業股份有限公司
繁體中文
繁體中文
简体中文
首頁
產品與服務
電源線連接器
澳規系列
連續端子
水火線/地線
阿根廷標準
10A
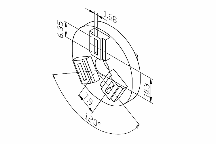
8655AN-3P
8655AN-3P
Material :
Nylon66 UL94V-2
Color :
Natural
Mating Parts :
98658A or 98681A
Ampere :
10A
Applicabie Standard :
IRAM 2073
產品諮詢
Products
產品與服務
近年強化現有沖壓、射出成型模具、自動化設備生產技術,積極開發高附加價值產品如:異型材料加工為新能源電動車不可或缺之材料,CNC複合車銑加工為5G通訊設備之零配件。
上一項產品
下一項產品